2025年12月18日

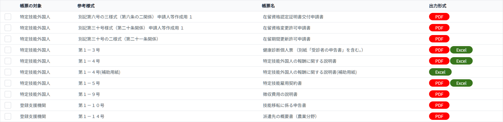
株式会社プロシーズ(代表取締役:花田 隆典、以下プロシーズ)が提供する日本で働く外国人のための「教育支援+人材管理」サービス『MANABEL JAPAN(マナベルジャパン)』は、新たに「備付帳簿出力機能」および「Excel帳票出力機能」をリリースいたしました。
特定技能制度の拡大により、登録支援機関が扱う外国人スタッフ情報や申請書類は年々増加しています。現場では、
といった非効率が課題となり、「Excelで直接編集したい」「帳票を柔軟に再利用したい」という要望が多く寄せられていました。これらの課題に対応するため、今回のリリースを実施しました。
これにより、入管庁が定める備付帳簿に対応でき、さらに登録データを自動入力することで転記ミスの防止にもつながります。
Excel上で直接修正・再出力できるため、申請内容の変更や再提出にも柔軟に対応できます。

外国人材の「教育支援体制と人材管理体制」を構築するためのプラットフォームです。
教育コンテンツの配信や受講状況の管理だけではなく、申請に必要な帳票の出力やビザの管理などもできるので、無駄を省き、支援を充実することに時間やコストを投下できるようになります。
また、日本で働く外国人が介護、建設、観光業界など、各種業界に特化した人材の育成が不可欠になる今後を見据え、各業界団体様や企業様に向けて、日本語教育を中心とした業界特化型の教育支援を行っています。
今後もプロシーズでは、働く皆様のキャリアアップと企業の発展に寄与すべく、eラーニングソリューションを提供してまいります。
MANABEL JAPANサービス、および今回のプレスリリースについては、Webサイトまたはお電話にてお問い合わせ下さい。
MANABEL JAPANサイトURL:https://manabel-japan.com/
株式会社プロシーズ MANABEL JAPAN担当
TEL:06-6190-6276
学習効果を最大化するeラーニングを追求するプロフェッショナル企業です。2,800社以上の導入実績、1,000,000人以上の利用実績があります。
・大阪本社
住所:〒564-0052 大阪府吹田市広芝町10番25号 第2池上ビル1階
TEL:06-6190-6276
・東京本部
住所:〒108-0073 東京都港区三田3丁目1番17号 アクシオール三田7階
TEL:03-6400-0507
サービスに関する料金やご利用方法のご相談など、専門のスタッフがご対応いたします。
ご不明な点がございましたら、まずはお気軽にお問い合わせください。